联系我们   Contact
你的位置:首页 > 成功案例

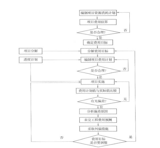
项目费用管理计划流程

2015-04-21
案例详细

详见:流程市场